
静电除尘器的电源由控制箱、升压变压器和整流器组成。电源输出的电压高低对除尘效率也有很大影响。因此,静电除尘器运行电压需保持40一75kV乃至100kV以上。
基本结构
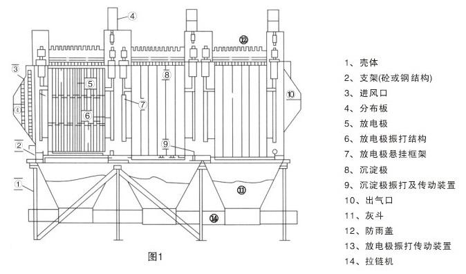
静电电除尘器由两大部分组成:一部分是电除尘器本体系统;另一部分是提供高压直流电的供电装置和低压自动控制系统。电除尘器的结构原理图如图1所示,高压供电系统为升压变压器供电,除尘器集尘极接地。低压电控制系统用来控制电磁振打锤、卸灰电极、输灰电极以及几个部件的温度。
工作原理
电除尘器的基本原理是利用电力捕集烟气中的粉尘,主要包括以下四个相互有关的物理过程:(1)气体的电离。(2)粉尘的荷电。(3)荷电粉尘向电极移动。(4)荷电粉尘的捕集。
荷电粉尘的捕集过程:在两个曲率半径相差较大的金属阳极和阴极上,通过高压直流电,维持一个足以使气体电离的电场,气体电离后所产生的电子:阴离子和阳离子,吸附在通过电场的粉尘上,使粉尘获得电荷。荷电极性不同的粉尘在电场力的作用下,分别向不同极性的电极运动,沉积在电极上,而达到粉尘和气体分离的目的。

特点
静电除尘器与其他除尘设备相比,耗能少,除尘效率高,适用于除去烟气中0.01—50μm的粉尘,而且可用于烟气温度高、压力大的场合。实践表明,处理的烟气量越大,使用静电除尘器的投资和运行费用越经济。
1.宽间距卧式电除尘器技术
HHD型宽间距卧式电除尘器是引进和借鉴国外先进技术,结合中国各行业工业窑炉废气工况的特点,为适应日趋严格的废气排放要求和WTO市场准则研究开发的科研成果。该成果已应用在冶金、电力、水泥等行业。
2.更佳宽间距及极板特别配置
使得电场场强、板电流分布更加均匀,驱进速度可提高 1.3倍,使捕集粉尘比电阻范围扩大到10 1 -10 14 Ω-cm,特别适用于硫化床锅炉、新型水泥干法回转窑、烧结机等废气的高比电阻粉尘回收,减缓或消除反电晕现象。
3.整体新型RS电晕线
更高长度可达15米,具有起晕电压低,电晕电流密度大,钢性强,不易破损,具有抗高温、抗热变能力,结合顶部振打方式清灰效果。根据粉尘浓度大小配置相应的电晕线密度,从而可适应高粉尘浓度的收尘,更高允许入口浓度可达1000g/Nm 3。
4.电晕极顶部强力振打
根据清灰理论设计的顶部放电极强力振打,可采用机械和电磁两种任选方式。
5.阴阳两极自由悬吊
HHD电收尘器收尘系统和电晕极系统均采用三维悬吊结构,当废气温度过高时,收尘极和电晕极将按三维方向任意膨胀伸展,收尘极系统还特别设计了抗热变钢带约束结构,使得HHD电收尘器具有较高的抗热变能力,经商业运行表明,HHD电收尘器更高温可达390℃。
6.提高振打加速度
改善清灰效果 :收尘极系统清灰好坏直接影响收尘效率,大部分电收器在经过一段时间运行后都表现出效率下降情况,究其根源主要是收尘极板清灰效果差所致, HHD电收尘器利用最新撞击理论和实践结果,改传统扁钢撞击杆结构为整体型钢结构,又将收尘极的侧部振打锤结构删繁就简,使掉锤环节减少2/3,实验表明收尘极板面最小加速度从220G提高到356G。
7.占地面积小、重量轻
由于放电极系统采用顶部振打设计,且打破常规创造性地将每个电场采用非对称悬吊设计,并利用美国环境设备公司壳体计算机软件优化设计,使得在同样收尘总面积的情况,电收尘器总体长度减少3-5米,重量减轻15%。
8.高保证绝缘系统
为防止电除尘器的高压绝缘材料结露爬电,壳体采用蓄热双层充气屋顶设计,电加热采用PTC、PTS材料,绝缘套管底部采用双曲线反吹清扫设计,有效杜绝瓷套管结露爬电的易发故障,且维护、保养、更换极为便利。
9.匹配L-C高系统
高压控制可采用 DSC系统控制,上位机操作,低压控制采用PLC控制, 中文触摸屏操作。高压电源采用恒电流、高阻抗直流电源,匹配 HHD电收尘器本体。可产生高除尘效率、克服高比电阻、处理高浓度等功能。



